Microsoft’s expanding use of artificial intelligence across Windows 11 continues to divide opinion among users, many of whom feel AI features are being embedded too deeply into everyday workflows. While tools like Copilot offer clear advantages for some, others see its growing presence across system apps as intrusive—especially when they rarely use AI-assisted features.
Despite criticism, Microsoft appears committed to further integrating Copilot into the operating system. According to findings highlighted by Windows Central, the company is now exploring the integration of Copilot-powered intelligence into one of Windows 11’s most widely used utilities: the clipboard.
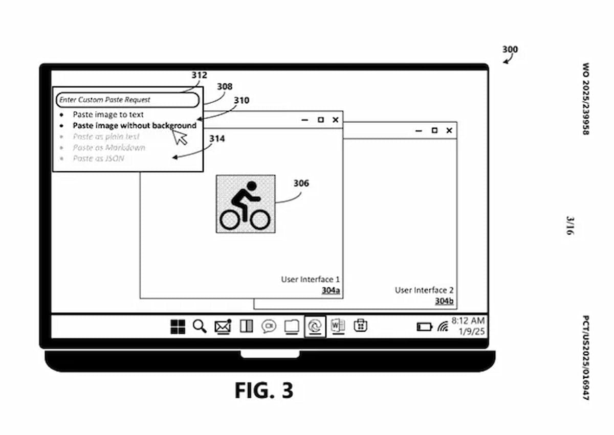
The Windows clipboard is already a core productivity feature. By pressing Windows + V, users can access a history of recently copied items, making it easier to reuse text, images, or links without having to constantly switch windows. Microsoft now appears to be interested in evolving this tool from a passive storage space into an intelligent assistant.

A recently surfaced Microsoft patent filed with the United States Patent Office outlines a system that would allow the clipboard to interact with a language model—likely Copilot—to analyse and transform copied content. Rather than simply pasting items as-is, users could be offered contextual actions based on what they copied.
The patent describes several practical examples. Copied images could be processed to remove backgrounds, simplifying the creation of stickers or presentation graphics. Plain text could be converted into structured tables, reformatted into HTML, or adapted for different use cases before being pasted elsewhere.
In effect, the clipboard would act as a smart intermediary between copying and pasting, similar in spirit to advanced paste tools found in Microsoft PowerToys.
According to the patent, copied content would be temporarily stored and analysed so the system could suggest relevant transformations. Users would then choose which version they want to paste, adding flexibility without requiring additional apps or manual formatting.
Microsoft has already experimented with AI-assisted copy and paste features in applications like Word, but integrating these capabilities directly into the system clipboard would make them available across the entire operating system.
As with all patents, there is no guarantee this feature will ever reach consumers. Many concepts never progress beyond the experimental stage. Additionally, AI still struggles with reliably handling complex or nuanced tasks, which could limit the practical implementation of such a feature.
Even so, applying AI to clipboard operations represents a more practical and productivity-focused use case than some previous integrations. If executed carefully, it could enhance a tool that users already rely on daily—without forcing AI into places where it feels unnecessary.
Whether Microsoft ultimately brings Copilot to the clipboard remains uncertain, but the idea highlights how the company envisions AI becoming woven into even the smallest parts of Windows 11.

